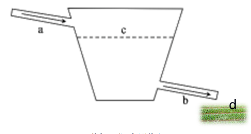
「进销存」进销存与水池模型有什么关联?“蓄水池实体模型”说白了便是一个含有进水管和排水口的养金鱼的鱼缸,根据调整进水流量和水流量来操纵池里水位线的转变。见到这一实体模型,禁不住想到中小学校时常常做的渗水排水管道类数学应用题。那时候这类题做起來让人费脑子。日用品和零售行业有一个关键的经营关键因素:进销存软件,即拿货、分销商和库存量。深层干预业务流程后,发觉进销存软件与蓄水池实体模型有高宽比的相似度,管理方法好这三项因素,有巨大的挑戰,一样让人费脑子。推荐使用:免费进销存管理系统(免费下载,像Excel一样极速上手,可灵活自定义的企业管理软件)
